磨粒流抛光又称挤压珩磨,是一种先进的抛光技术。它是由挤压珩磨机借助磨料,在一定的压力下往复流动,对被加工零件的表面进行珩磨加工。
磨粒流抛光应用于各种金属材料,各种形状的工件内外表面光整加工。特别是对于那些复杂的异形孔道多孔相贯的交叉孔等特殊型腔及零件隐蔽部位的毛刺进行抛光倒圆,具有较其他方法无法比拟的优越性。
磨粒流抛光技术目前在国内军工、汽车、纺织等行业中逐步得到推广应用。加工对象如各种液压元件拉丝模、注射模的表面抛光,齿轮、蜗杆蜗轮、内外花键的去毛刺,电火花和激光加工后表面硬化层及微观缺陷的去除等。被抛光的零件材料可以是金属或非金属。
纺织机械中-.些零部件由于常接触各种纤维或织物,因而要求零件表面光洁,不允许钩挂纤维。一般磨削加工后的零件表面较难满足这一要求,这在相当程度上影响到纤维或织物的质量和产量。


为了提高产品质量,纺织机械行业从上世纪九十年代初已逐步推广磨粒流加工技术。对一些表面要求高的接触纤维的零件进行磨粒流抛光加工,使表面粗糙度等级普遍提高。特别是对毛刺的清除效果是其他加工工艺达不到的。
二、磨粒流抛光加工原理
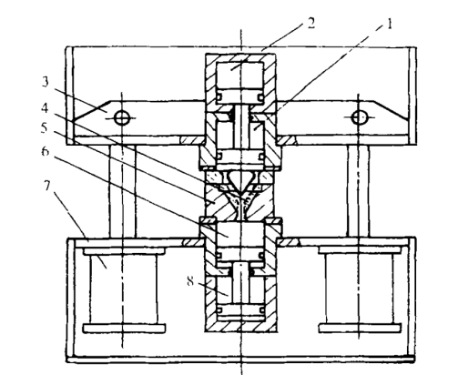
磨粒流抛光是利用含有一定数量磨料颗料的半流体(磨粒流体介质)对工件表面进行加工的一种新工艺。加工时,磨粒流体介质以一定的压力和流量,往复通过被加工表面。磨料颗粒在压力和流速的作用下,对金属工件表面或棱边进行挤压或抛光、去除毛刺和倒圆角。工件的磨粒流抛光在专用的挤压珩磨机上进行。挤压珩磨机由床身、工作台、活动横梁、上下工作油缸和泵站等主要部分组成。工作台上可以放置工件及夹具。活动横梁的升降由两个压紧油缸带动,当横梁向下移动压往工件或夹具时,上下工作油缸与夹具、工件变构成了一个封闭的加工区(如图1)。

图1磨粒流原理图
1 ,6-磨料缸2,8-油缸3-活动横梁4-工件5.磨粒流模具7-压紧油缸
上下工作油缸中充满了磨粒流体介质,当上缸中的活塞向下移动时,,磨粒流体介质受到上活塞的挤压,穿过工件流到下缸。然后下缸中的活塞向上移动,磨粒流体介质受下活塞的挤压,穿过工件流回到上缸。这样往复穿过工件,可以根据需要进行若干次。含有磨料的流体介质在挤压力的作用下,会产生“硬化”现象,形成一种类似油石的作用。流体介质磨料上的切削刃,在挤压工件表面和棱边部分时,对金属表面产生切削作用。这样就能抛光、冲击掉工件表面的毛刺和不平度波峰,并将切削下来的金属微屑,包容在磨粒流体介质中一起排走,使被加工面获得较细的表面粗糙度。
三、磨粒流抛光的工艺参数
1.介质磨料
挤压珩磨加工的关键是磨粒流体介质,是挤压珩磨加工的“工具”。它是由磨料颗粒与一种粘弹性高分子聚合物均匀混合而成。类似油灰或橡皮泥状,具有可塑性,还具有象橡胶- -样的弹性,无毒无臭,不污染环境。介质本身有很强的内聚力,易于清除回收。挤压珩磨加工时,这种粘弹性的基体介质,携带着磨料颗粒一起往复循环通过被加工表面。根据工件材料和表面粗糙度要求的不同,磨粒流体介质中混合的磨料种类、粒度以及所含磨料的浓度有所不同。一般使用的磨料有氧化铝、碳化硼、碳化硅和金刚石粉等。磨料粒度的选择原则与磨削时砂轮粒度的选择相近似。
磨料的粒度- -般采用20~500号,常用80~150号。粗磨料用于去除毛刺,细磨料用于抛光光整表面。在实际应用中,经常是几种粒度的磨料混合使用。磨粒流体介质的粘度(稠度)应根据不同的加工对象进行调配。粘度较低(即较软)的磨粒流体介质在受挤压通过孔道时,介质在同一横截面上各点的流速不同,在工件棱边部分形成急剧的滑动摩擦作用,因此,这时去除毛刺和倒角的能力较好,而粘度较高(即较硬)的磨粒流体介质,由于其流动性不好,而形成一种受剪切的状态。这样,对孔壁有较强的滑动摩擦作用,这种介质作为抛光表面用较好。所以当加工孔径较大的工件时, 需要使用粘度较大或流动性较差的磨粒流体介质,而加工小孔或长而弯曲的孔时,则需要使用粘度较小流动性较好的磨粒流体介质。因此,在调配磨粒流体介质时,可根据需要加入不同的添加剂,,如增塑剂、减粘剂、润滑剂等,以满足不同材料,不同形状的工件挤压珩磨加工的要求。
磨粒流体介质在常温下可以长时间保存而不硬化。调配好的磨粒流体介质的使用寿命一般为500-800h。使用一段时间后磨料逐渐钝化而失去切削能力, 且基体介质中还包容了过量的金属碎屑,当含量达到10%时,则应重新更换。
3.往复循环次数和时间
工件利用夹具装在挤压珩磨机床上,上下油缸往复运动,挤压磨粒流体介质强行通过工件表面。往复循环的次数及时间根据工件的形状、孔径、材料、粗糙度要求,可在机床的计时器或计数器上选择控制一次挤压珩磨加工所需往复循环的时间或次数。一般工件上下挤压的循环次数为三至五十次,一次加工循环的时间为几十秒至十几分钟。
4.加工余量
挤压珩磨余量根据工件表面预加工粗糙度而定,若工件表面的预加工粗糙度为Ra3.2~1.6 μm .时,则其单面的挤压珩磨余量约为0. 01~0.02mm。
当然要达到较细的表面粗糙度,可适当加大挤压珩磨余量,最细可达Ra0. 025 μm。


图3蜗轮粒流抛光模具
1-下模2-手柄3- 1件4螺钉5-上模6-定位销
2.齿轮齿部毛刺的磨粒流抛光夹具设计时应注意将流道尽量靠近齿部,并使周边流道大小一致,如图3所示。蜗轮装在定位销上,并被封闭在夹具体内,通过磨粒流体介质的上下循环流动,抛磨掉蜗轮齿面上的毛刺。
3.短轴类零件的磨粒流拋光夹具可设计成竖装结构,并保证零件在磨粒流压力下不发生轴向窜动。


图4
弯管内孔磨料抛光
1-磨料模具
2-工件
3-螺钉
图4所示为弯曲铜管内孔磨粒流抛光夹具。此类夹具也适用于蜗杆的抛光,但夹具上要增加轴向挡圈限制蜗杆窜动,并合理设计流道,使磨粒流体介质均匀通过蜗杆齿面。

图5分流道交 叉孔磨粒流模具
1-上模2-工件3-下模
4.交叉孔复杂型腔的磨粒流抛光夹具须考虑磨料分流结构,使磨粒流过各孔的流速尽量一致。若此类零件的交叉孔排列范围较大,且挤压珩磨机的能力不能满足一次抛完时,可设计成分段磨粒流抛光夹具。
图5为一大型复杂交叉内孔零件的磨粒流抛光夹具,上方设计有分流道,下方从零件的侧向进出磨料。
5.多零件集中到一起的磨粒流抛光夹具,如图6所示,它适用于批量较大的小型零件。一次装夹,同时加工多个零件,可以大大提高生产效率。但是设计此类夹具时, 必须使夹具上下进料口处于挤压珩磨机允许的范围内,必要时可改变夹具中流道的方向。
图6多件磨料抛光
1-工件2-下模
3-芯轴4-上模
五、设计磨粒流抛光夹具的几项原则
1.磨粒流体介质在全部流道中受到的阻力应小于挤压珩磨机的挤压力。
2.磨料夹具进出口断面尺寸应和被抛光零件内表面进出口断面尺寸相对应。
3.磨粒流夹具设计应使磨粒流体介质在零件不同部位上的流速大体- -致。
4.磨粒流夹具要有较好的刚性、耐磨性和密封性,以保证在一定的压力下夹具和零件不变形或损坏。


